
Apple
Apple patents a new biometric ID scan to read what is under your skin
Fingerprints, your face and now the veins on your head

Fingerprints, your face and now the veins on your head
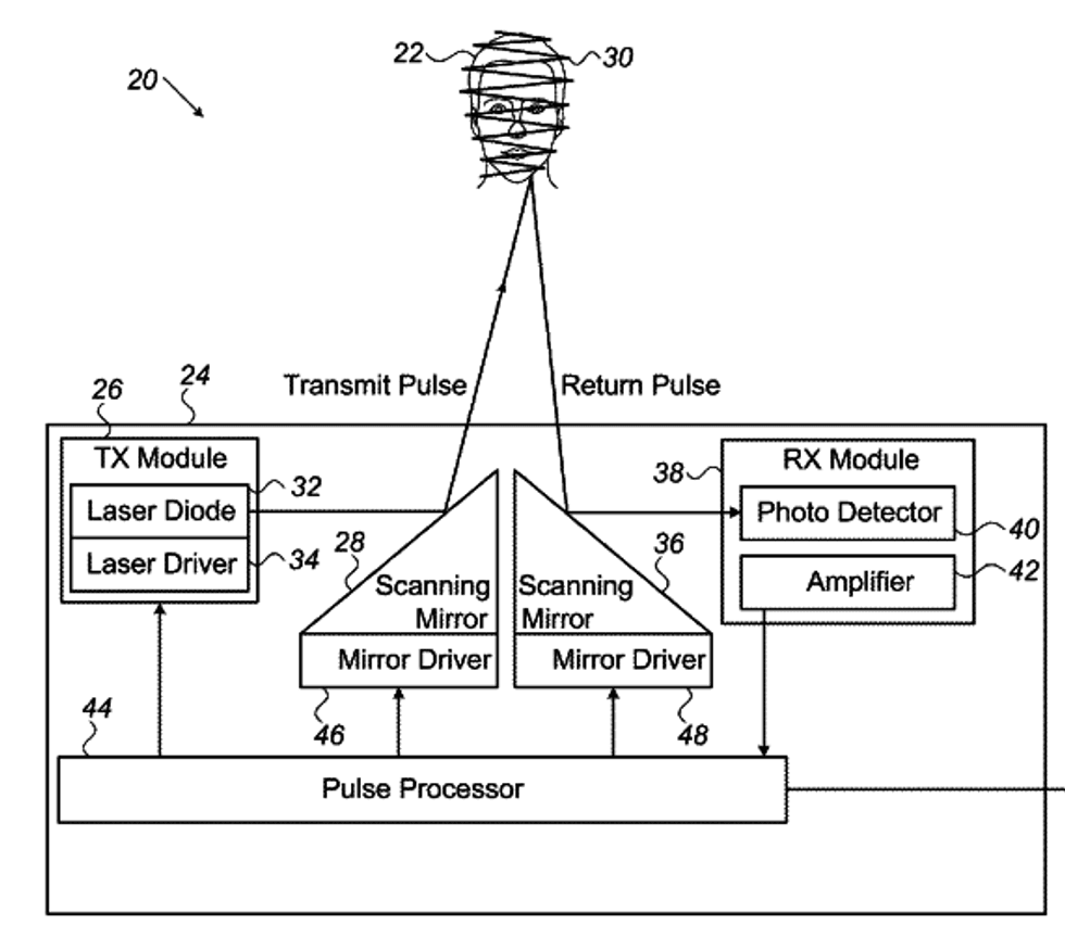
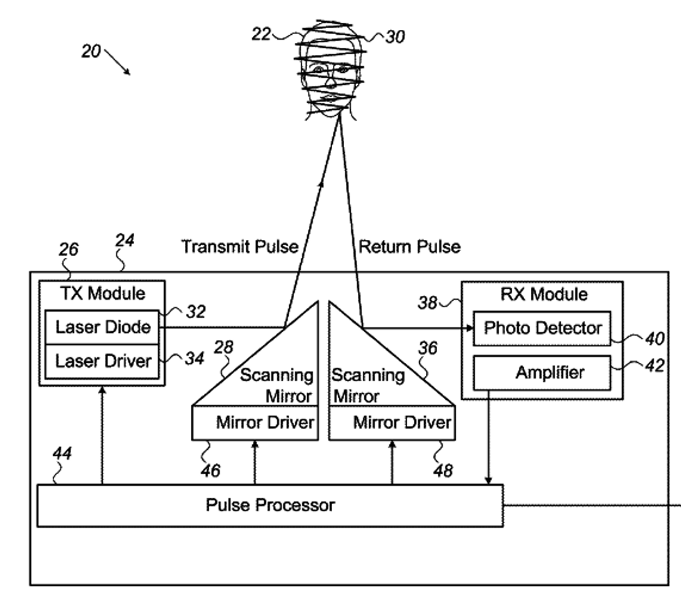
Apple earned a new patent on how to read the veins under the skin. Called "Vein imaging using detection of pulsed radiation," the patent covers how to use a transmitter to project infrared radiation on the skin, and then use a receiver to read images that come back of blood vessels underneath.
Vein recognition is a kind of biometric ID, like a fingerprint or an iris scan — a unique way to identify a specific person as vein patterns are never the same.
Unlike fingerprint readers which can be spoofed, vein recognition technology is considered harder to trick, as devices reading blood vessels often check that blood is moving through them as part of their check.

In Apple's patent, first reported by Patently Apple, a transmitter sends pulses of infrared radiation across the skin, with the returning pulse then read by a processor, and that image compared to one that is stored, "…in order to authenticate an identity of the living subject," reads the claims part of the patent.
Apple's newest smartphone, the iPhone X, added a new security method when that device launched in 2017 called Face ID, which scans the iPhone owner's face through a series of cameras, verifying their identity before opening the device. Previously, iPhones opened through a fingerprint scan, called Touch ID, or a code, which is still used today as a backup.
The new patent doesn't name the vein-scanning method, but the use of it as a security device is clearly made. "Because the vein patterns are internal to the body, they are difficult to counterfeit," reads the patent.
While vein recognition technology can be used on the hands, Apple may be considering its new patented method as a way to augment Face ID. The company notes in the patent that there are a "complex pattern of blood vessels" that are beneath the surface of the face — and not very deep, "…and detection of this pattern under infrared illumination could be used, for example, to enhance the reliability of facial authentication."
As with any patent, there is never a guarantee that a company will bring these new technologies or methods to production. In the past two years, for example, Apple has patented a way to make Siri whisper, while also designing a bendable phone — neither of which have appeared.
GearBrain Compatibility Find Engine
A pioneering recommendation platform where you can research,
discover, buy, and learn how to connect and optimize smart devices.
Join our community! Ask and answer questions about smart devices and save yours in My Gear.
