Like GearBrain on Facebook
July 28 2017
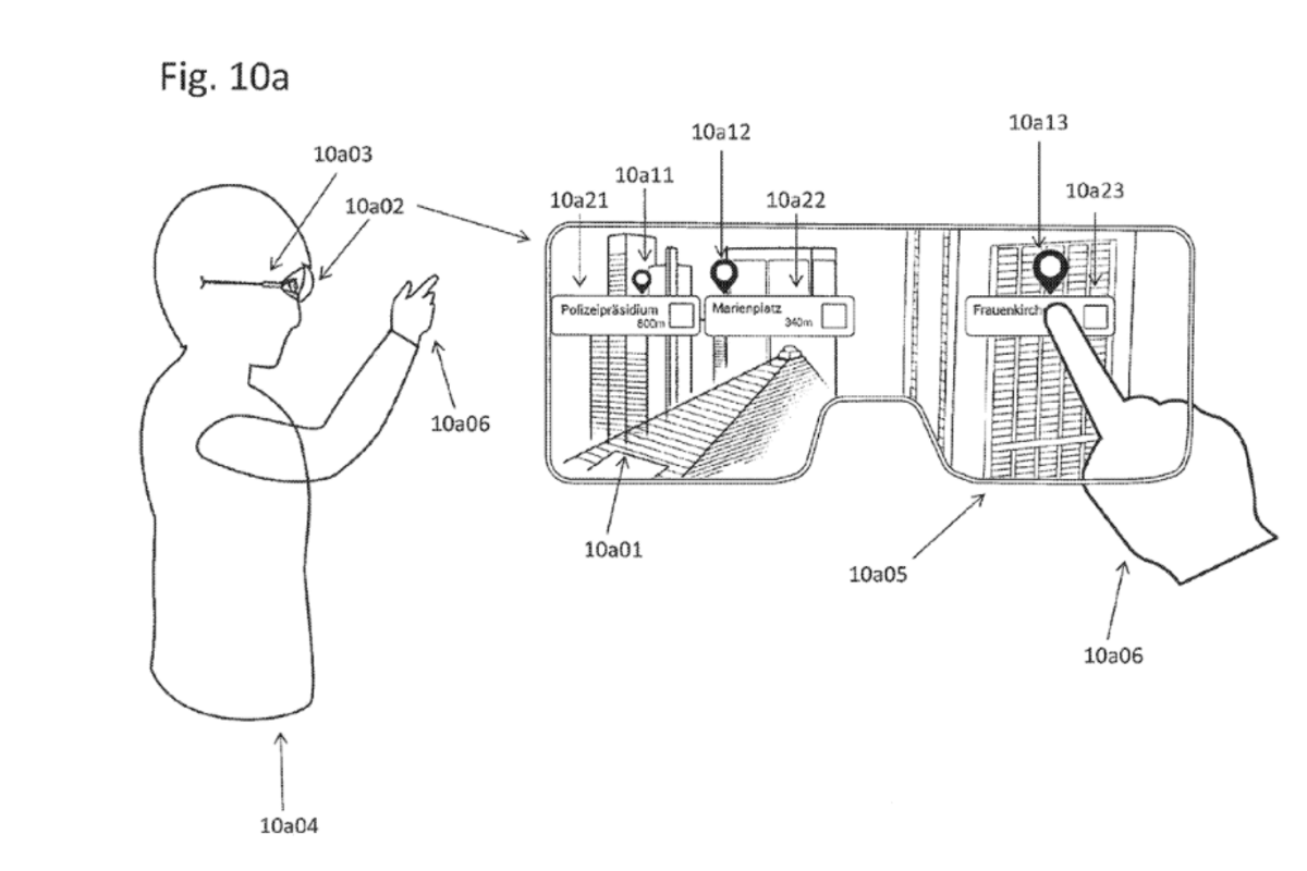
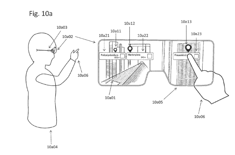
Apple Glass Apple earned a new patent which would overlay information on to a smartphone screen (i.e augmented reality) but also specifically mentions smart glasses as one way to read or deliver this data. Patently Apple first uncovered the patent which was filed just in April —sometimes it takes years for a patent to be awarded. Nor are patents product announcements: in fact sometimes the service, ability or gadget described inside the paper never makes it to market.
But this is hardly Apple's first foray into augmented reality. Apple earned an AR patent for an ability to show how far, or close, someone is standing from an object, back in November. Clearly, though, Apple is focused on AR. Well-known tech blogger Robert Scoble, and AR evangelist, believes Apple's foray into AR is even going to disrupt virtual reality.
The new patent shows AR viewed through a smartphone (presumably an iPhone) but also through a pair of glasses, using the phone to interact potentially with the virtual imagery. When either or both show up, is never something to bet on with Apple. But AR on your smartphone? That future is already here.
Smart gadget vs dumb tool Connected devices that unlock the door, turn on the lights or even order replacement coffee filters are fun. But truly smart? Not quite yet, says August Home's Chris Kim who believes a real smart home unlocks the door and turns on the lights when it knows it's owner has arrived. Kim talks to GearBrain about what makes a smart house a smart home — and where he sees the market graduating.
Like GearBrain on Facebook
July 28 2017
The Conversation (0)
GearBrain Compatibility Find Engine
A pioneering recommendation platform where you can research,
discover, buy, and learn how to connect and optimize smart devices.
Join our community! Ask and answer questions about smart devices and save yours in My Gear.

Top Stories
Contact Us
- info@gearbrain.com
- 646-376-7760
- 215 West 40th Street, 6th Floor
- New York, NY 10018

