Like GearBrain on Facebook
August 02 2016
Drone Arena Drone maker DJI is opening its first drone arena—a nearly 1400-square-meter space (about 5 tennis courts) in Korea, just south of Seoul. The space will be indoors, and open to consumers who want to learn how to fly their (presumably DJI) drones. The arena opens in August with LED-lit circuits and safety nets, and also a way to get a first-person view from your drone. Excited? You can book the space for private events.
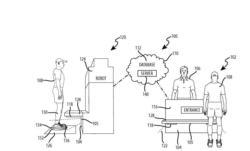
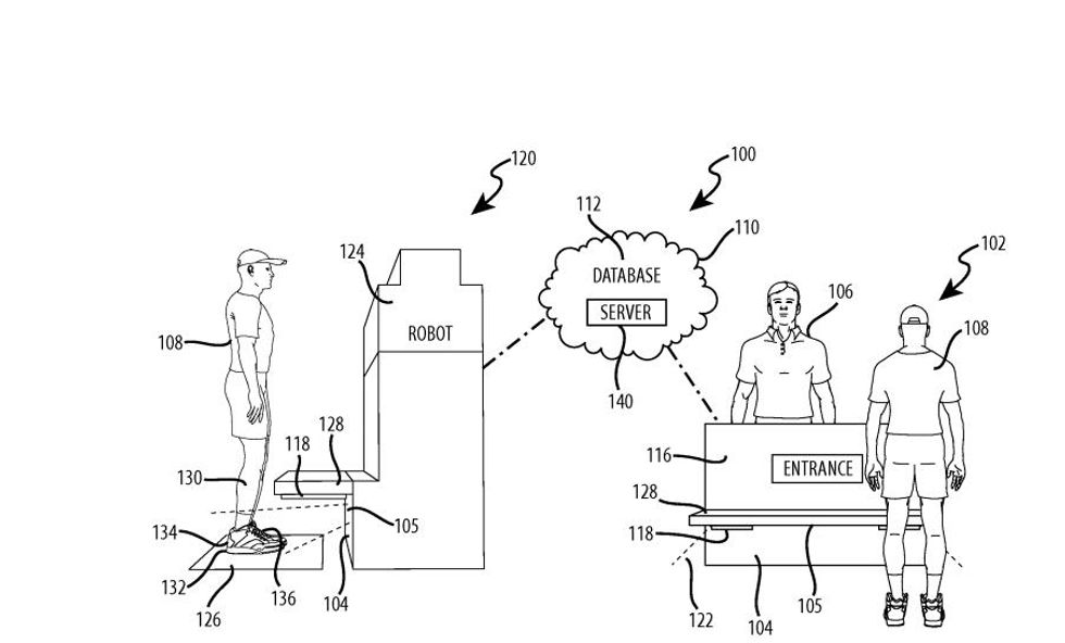
Foot ID Disney has upped the ante when it comes to biometrics. The theme park wants to scan your feet—yes, foot recognition technology— "to create a customized guest experience," notes Disney in its patent application. Now, let's start with answering your first question: No, you do not have to take your shoes off, as noted from the image below. Should you expect a foot photo on your next visit? Hardly. Patents, as we know, don't always become real products or applications. But, just in case, plan on wearing some decent sneakers for your next visit.

Ditch The Apple Remote Apple just released a new iPhone app that lets you turn your smartphone into a remote, using Siri to control your Apple TV. Why is that a plus? Because there's less need to hunt for the tiny silver Apple remote if you can just grab your smartphone from your pocket. (Via Bloomberg)
Irish Eyes One Irish optometrist is using VR headsets to help patients tell which kind of eyeglasses they need—from the color of the tinting on the lenses to the style. Patients virtual try on their glasses and then go into different kinds of lighting from indoors to outdoors, and even from the light at the office to that at home. (Via Irish Examiner)
What Is 5G? Ready for the next wireless revolution? That's 5G—a mobile standard that will be faster, move more data, and even send signals that bend. Want to know more? We can do that.
Like GearBrain on Facebook
August 02 2016
The Conversation (0)
GearBrain Compatibility Find Engine
A pioneering recommendation platform where you can research,
discover, buy, and learn how to connect and optimize smart devices.
Join our community! Ask and answer questions about smart devices and save yours in My Gear.

Top Stories
Weekly Deals
Contact Us
- info@gearbrain.com
- 646-376-7760
- 215 West 40th Street, 6th Floor
- New York, NY 10018
