
iStock
Apple has a plan to fix the complexities of today’s smart home
The iPhone maker isn't happy with current smart home tech, but thinks it has a solution

The iPhone maker isn't happy with current smart home tech, but thinks it has a solution
Apple isn't happy with the way smart home technology currently works, but the company believes it has the answer — a system that knows the layout of a home and automatically configures new devices as they are installed.
The iPhone maker sees a future where smart home enthusiasts don't need to spend time configuring new devices as they add them to their system. Instead Apple wants to create a solution where, when every new device, like a light switch, is added to the home, it is automatically configured and set up correctly.
Read More:
This plan is outlined in a new patent filed by Apple in March 2019 and made public this week. The patent, "Object tracking and authentication using modular wall units," may sound vague, but the document also outlines Apple's clear frustrations with current smart home technology.
"Configuring the smart home can present many challenges, reads the patent, first spotted by Patently Apple. "For instance, the differentiation of brands and their incompatibilities between each other, differing connection and communication protocols, wiring and connector types, hardware/software configurations, and general system set up can be daunting to the average consumer."
Apple goes on to say that even tech-savvy customers, "may be challenged by the non-intuitive and often frustratingly laborious process of configuring a fully integrated smart home." The company also raises issues with replacing, upgrading and reconfiguring smart home devices and systems.
"Despite the many advantages that smart home technology brings to society, there is a need for smart home systems that can allow lay-consumers to more easily customize, scale, and reconfigure their homes in a more effortless and user friendly manner," Apple wrote."
Step forward Apple's proposed solution to the complicated smart home. The patent document describes a system which can "determine and auto-generate a floor plan for the building based on the determined locations, orientations, and distances without any necessary user input or interaction."

Apple explains how its technology would work out the location of inanimate objects like sofas and other furniture using time-of-flight (ToF) sensors. Once it has gathered a property's floor plan, the Apple system can then understand where new smart home devices are installed, and what they should do.
For example, if a new smart light switch is fitted in the living room, Apple's system could understand this and add the switch to the smart home system's 'Living Room' group, where it would control the lights in that room with no configuration required.
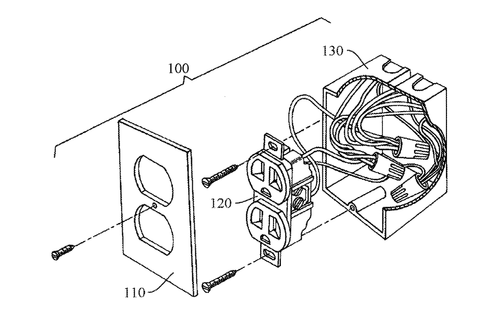
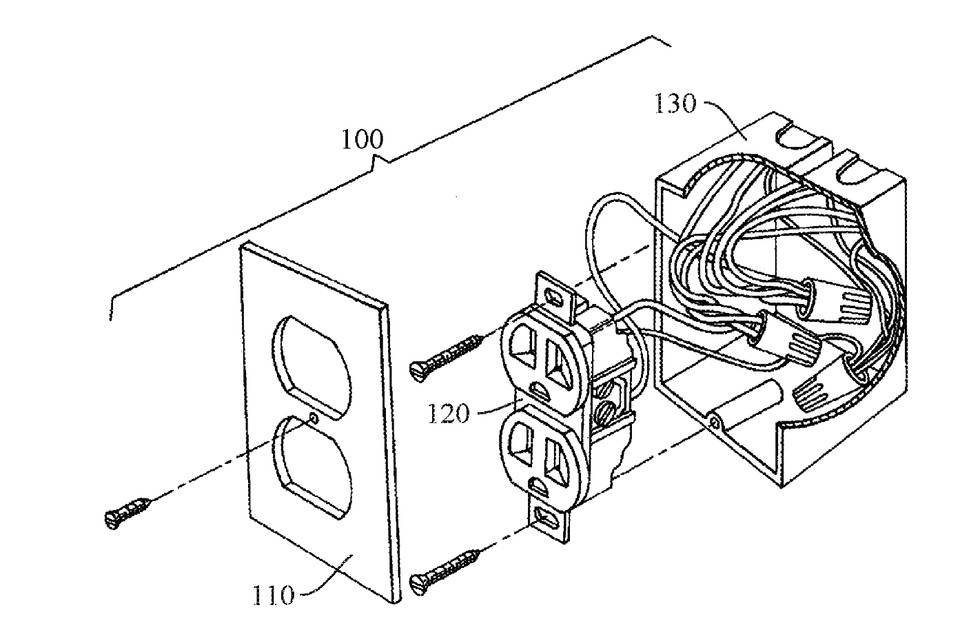
Apple's patent talks of fitting a house with numerous 'host units' which would communicate with each other and with all smart home devices in the property.
Similar technology was mentioned in an earlier Apple patent from 2019, discussing future smart home systems controlled by intelligent wall switches.
The company also speaks repeatedly and throughout the new patent about modular smart home controllers. Of these, it says: "The modular accessory such as a power outlet, light switch, sensor device, etc., can be configured to be interchangeably and non-destructively coupled and decoupled with the host unit." This suggests that easily reconfiguring and upgrading a smart home's components is key to Apple's plans.
But none of this will be easy. The patent requires cooperation between a great many companies — Apple isn't going to start re-wiring your home any time soon — but, as we have long suspected, the document is evidence that Apple has a grand smart home plan that extends far beyond today's HomePod speaker, Siri and the Home app.
As ever, we should add the important caveat that technology companies like Apple file patent on a regular basis. Just because these documents exist, it does not mean Apple is about to launch its own complete smart home system. However, it certainly shines light on the company's feelings about today's smart home industry, and how it thinks the technology could be changed in the future.
GearBrain Compatibility Find Engine
A pioneering recommendation platform where you can research,
discover, buy, and learn how to connect and optimize smart devices.
Join our community! Ask and answer questions about smart devices and save yours in My Gear.
