Health Devices

iStock
Apple patent reveals plans for Bluetooth blood pressure monitor
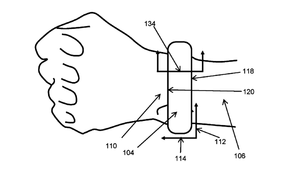
Newly-granted patent describes a low-profile monitor to be worn on the wrist

Newly-granted patent describes a low-profile monitor to be worn on the wrist
Apple is working on a wearable blood pressure monitor, according to a patent which was filed three years ago, in June 2015, and has just been granted by the US Patent & Trademark Office.
The device, described in the patent as "a low-profile blood pressure measurement system", and its drawings could be Apple's first proper health product. This - unlike the Apple Watch and its heart rate monitor - would require regulatory approval from the FDA before going on sale.
Read More:
The patent describes a device worn on the wrist, which, like other blood pressure monitors already on sale, uses several small air bags—called "cells" in the Apple patent—which inflate to restrict the wearer's blood flow temporarily. The device then gets a reading for the heart's maximum output, or systolic pressure, before deflating the airbags to measure the resting output, or diastolic pressure.
Apple also suggests how the device could communicate with an "application and operating system" - most likely, an iPhone app - and offer Wi-Fi, Bluetooth, and NFC.
With blood pressure on the rise worldwide, it makes sense for Apple and other technology companies to invest resources in ways to raise awareness among their customers about this measurement.

However, the Apple Watch and its heart rate sensor, a device that can alert the wearer to medical issues, do not require FDA approval. In contrast, a blood pressure monitor would. This means Apple is venturing into uncharted waters, as it shifts in direction from a consumer technology company to a medical tech company, whose products and the data they produce would be under increased scrutiny.
For an example of a tech company biting off more medical data than it can handle, look to Nokia Health (soon to be rebranded as Withings again). Its flagship smart scale was claimed to measure pulse wave velocity, but after more than a year on sale, Nokia found the scale's PWV measurements to be inaccurate. A software update was issued to remove the feature and delete the data it had collected and displayed to its users.
As for connected blood pressure monitors like the one Apple is working on, they already exist; one is the FDA-approved $99 QardioArm. However, this device is similar in design to a blood pressure monitor used in a hospital, and is not designed to be worn all day, unlike Apple's device, which appears to be.
As always, devices described in patents should be taken with a grain of salt. Apple filed this patent three years ago and may have already cancelled the project, or modified it into something else. Companies patent devices all of the time, and many never see the light of day. While it is certainly interesting that Apple is exploring the development of a blood pressure monitor, this does not necessarily indicate that such a device will be launched anytime soon.
GearBrain Compatibility Find Engine
A pioneering recommendation platform where you can research,
discover, buy, and learn how to connect and optimize smart devices.
Join our community! Ask and answer questions about smart devices and save yours in My Gear.
